# 2021 年 3 月
# 更新版本:v7.0.11
| 操作系统 | 下载 |
|---|---|
| Windows 64 位 | sscms-7.0.11-win-x64.zip (opens new window) |
| Windows 32 位 | sscms-7.0.11-win-x86.zip (opens new window) |
| Linux | sscms-7.0.11-linux-x64.tar.gz (opens new window) |
| MacOS | sscms-7.0.11-linux-x64.zip (opens new window) |
欢迎使用 2021 年 3 月发布的 SSCMS v7.0.11 版本。此次版本更新解决了一些功能要求和社区要求,这带来了许多新功能和设置,其中一些主要亮点包括:
- 新增内容参数列表插件 - 实现在内容页中显示自定义列表功能。
- 优化后台使用体验 - 实现内容列表以及栏目列表双击弹出编辑页面功能。
- 更换栏目编辑界面富文本编辑器 - 统一内容以及栏目的编辑器,将栏目编辑器修改为百度编辑器。
- 后台及用户中心权限优化 - 使用自定义敏感词来管理需要针对性地拦截、放行、人工审核的文本,应对突发的内容管控需求。
- Word导入优化 - 在百度编辑器中植入135排版功能。
- 可视化模板编辑 - 在百度编辑器中植入135排版功能。
- 其他优化及功能修复 - 根据 github 中用户的反馈,我们对新版本进行了以下优化及功能修复。
# 新增内容参数列表插件
内容参数列表插件(sscms.parameters)用于在内容页中显示自定义列表,列表值可以为包括图片、附件、富文本在内的任意字段类型。
SSCMS 在前台页面实现列表展示通常需要通过创建栏目并在栏目中添加内容列表,然后以 <stl:contents> 标签显示列表循环。
在v7.0.11中,我们新增了内容参数列表插件,此插件能够实现针对内容添加数据列表循环,从而在前台内容页面中显示出来。
插件能够按站点、栏目或者内容单独定义参数字段:

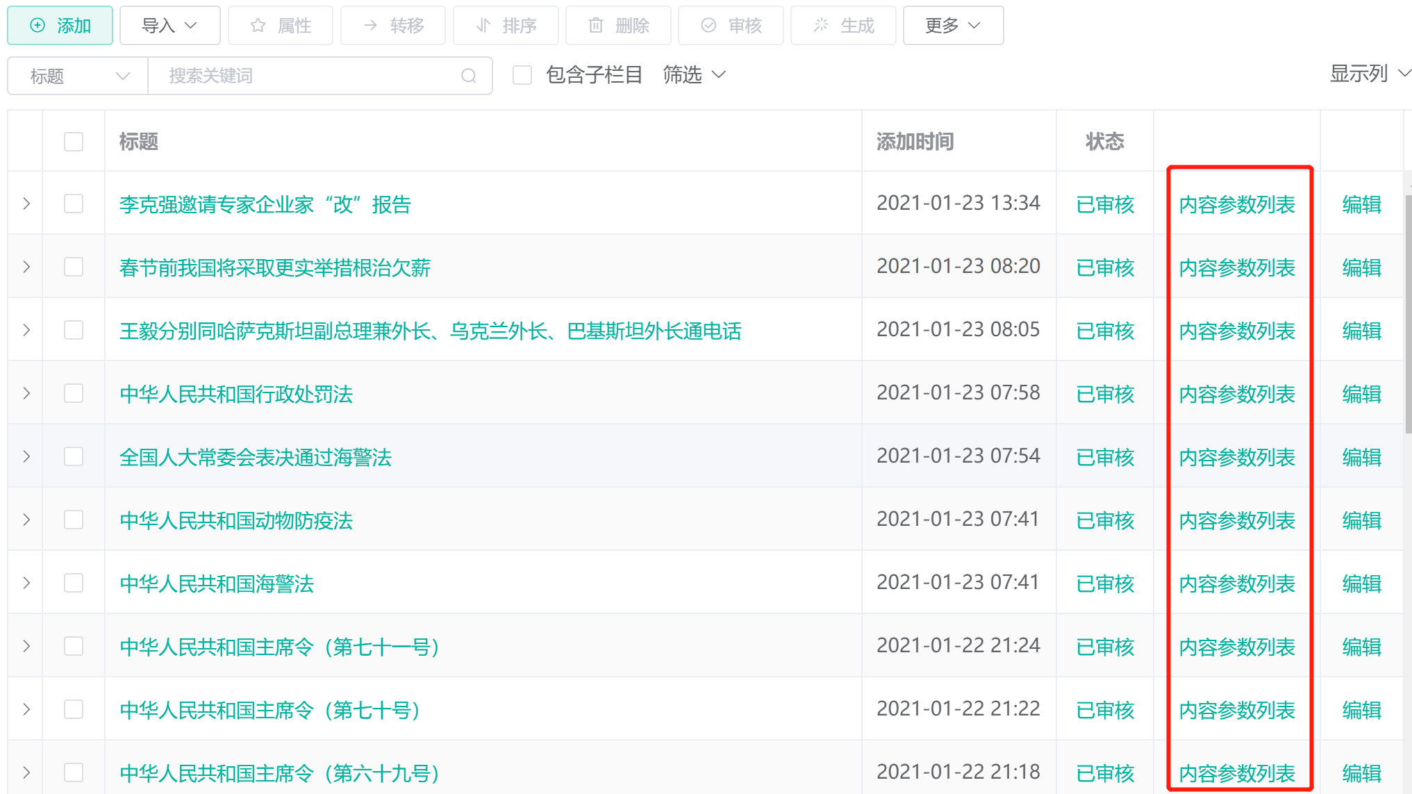
开启插件后,内容列表中将出现 内容参数列表 链接:

点击链接后可以在内容参数列表管理界面中对参数进行操作,插件通知一键导入Excel:

最后,在内容模板中使用 <stl:parameters> 以及 <stl:parameter> 标签将参数列表循环显示在页面中:
<stl:parameters>
<table width="100%" border="0" cellspacing="0" cellpadding="0">
<tr>
<td>功率:<span><stl:parameter type="power"></stl:parameter></span></td>
<td>安装方式:<span><stl:parameter type="installation"></stl:parameter></span></td>
</tr>
<tr>
<td>色温:<span><stl:parameter type="temperature"></stl:parameter></span></td>
<td>开孔尺寸:<span><stl:parameter type="holeSize"></stl:parameter></span></td>
</tr>
</table>
</stl:parameters>
# 优化后台使用体验
新版本优化了后台栏目列表以及内容列表的使用体验,现在可以通过双击实现快速弹出编辑页面功能:


# 更换栏目编辑界面富文本编辑器
新版本统一了内容以及栏目的编辑器,将栏目编辑器有wangEditor修改为baidu编辑器,使得编辑栏目正文更加方便:

# 后台及用户中心权限优化
在v7.0.11中我们针对后台权限进行了全面优化:
- 修复普通管理员设置指定栏目的添加内容权限无效问题
- 修复用户中心稿件管理报错问题
- 升级向导无权限验证,可直接运行
- 修复
package.json菜单配置项错误问题 - 修复每次登陆都显示您的账号登录已过期或失效,请重新登录问题
- 修复管理员使用短信登录后,管理员手机状态任显示未验证问题
- 修复模板管理,点击生成显示401授权问题
- 修复内容列表中点击内容标题跳转,显示401授权问题
# Word导入优化
针对用户在内容编辑过程中经常使用的Word导入功能,新版本进行了有针对性的优化:
- 修复Word文件为0字节等格式错误情况下,导入Word一直等待问题
- 修复Word中格式复杂情况下,导入的Word导致前台页面显示不正常问题
# 可视化模板编辑
模板可视化编辑功能目前正在紧张开发中,以下是部分界面截图。
可视化编辑入口:

文字编辑:

更换图片:

由于可视化编辑功能复杂且模板众多,我们将在未来几个月中进行密集开发,在版本稳定后提供给大家。
# 其他优化及功能修复
根据 github 中用户的反馈,我们对新版本进行了以下优化及功能修复:
- 修复对内容默认字段设置样式类型为复选项或者多选下拉框时,内容编辑界面不显示字段问题
- 修复stl:file标签自定义上传文件时显示文件不存在问题
- 修复管理员使用短信登录后,管理员手机状态任显示未验证问题
- 修复栏目正文字段图片设置独立API后显示不正常bug
- 修复日志IP地址记录不正确bug
- 修复用户重置密码日志记录bug
- 修复栏目修改界面中下级栏目页面命名规则以及内容页面命名规则参数传递不准确bug
- 用户注册电子邮箱必填项提示错误
- 修复sscms.login登录插件Method not found: 'System.Threading.Tasks.Task SSCMS.Repositories.ILogRepository.AddUserLogAsync(SSCMS.Models.User, System.String, System.String)'.报错
- 修复Word文件为0字节等格式错误情况下,导入Word一直等待问题
- SSCMS 默认菜单排序以100开头,以便插件能够将菜单插入至指定位置
<stl:sqlContents>以及<stl:pageSqlContents>标签支持<stl:query>查询条件- 相册插件按站点设置限制上传图片大小
- 筛选插件新增前台对全部筛选项高亮功能
- 评论插件日志记录评论人IP地址
- 修复预览内容后数据库新增数据问题
- 修复新增或编辑内容时选择复制到栏目,无法选中栏目问题
- 采集插件图片如果是带a 标签的,可以点击的图片,就可以采集下来。然后图片没有加 a 链接,不可以点击的图片 就下载不下来。
- 更换栏目编辑界面富文本编辑器
- 栏目管理界面中,双击栏目当前行弹出栏目编辑界面
- 升级向导无权限验证,可直接运行
- 修复用户中心稿件管理报错问题
- 每次登陆都显示您的账号登录已过期或失效,请重新登录
- 修复内容列表中点击内容标题跳转,显示401授权问题
- 修复模板管理,点击生成显示401授权问题
- 修复普通管理员设置指定栏目的添加内容权限无效问题
← 2021 年 6 月 2021 年 1 月 →